自兰州银行2022年1月成功上市后,A股银行IPO已连续“断档”四年。
年关将至,作为海南唯一省级法人城商行的海南银行,近期传出推进上市工作的新动向。参股该行的上市公司海马汽车在回答投资者提问时表示,关于IPO计划,海南银行将根据中长期资本规划情况,有序谋划推进IPO相关工作,持续补充资本,切实提高风险抵御能力。不过,海南银行尚未进入上市辅导阶段,暂无有实质性进展。
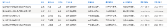
通过查询上交所及深交所发现,当前A股IPO排队名单仅剩五家银行。其中,上交所官网显示,湖州银行当前处于已问询状态,湖北银行和江苏昆山农商行均为已受理;深交所官网显示,东莞银行和广东南海农商行均为已受理。
海南银行推进上市进程,
暂未进入上市辅导阶段
近期,海马汽车在互动平台回答投资者提问时表示,关于IPO计划,海南银行将根据中长期资本规划情况,有序谋划推进IPO相关工作,持续补充资本,切实提高风险抵御能力。
不过,海南银行当前尚未进入上市辅导阶段,暂未有实质性进展。
实际上,此次并非首次公开披露海南银行上市进程,早在2020年9月,该行管理层便表示,将加快国际化发展速度,积极引进外资金融机构和外资企业股东壮大资本实力,提升国际化元素,力争三年时间实现境外资本市场上市,将网点延伸至大湾区和东南亚国家。
2021年6月,海南银行2020年度股东大会在海口海南银行总部大楼召开,会上,海南银行董事长朱德镭表示:“积极把握海南自贸港发展机遇,推动战略合作,加强与股东单位在业务创新、综合化发展等方面合作,并希望在增资扩股、上市融资等工作中得到各股东单位一如既往地支持。”
公开资料显示,海南银行是经国务院同意,原中国银保监会批准设立的股份制城市商业银行,也是海南唯一的省级法人城市商业银行,成立于2015年8月。
2025年12月18日,海南自贸港正式封关,在参与自贸港金融政策方面,海马汽车在互动平台上表示,海南银行已落地境内再投资免登记等高水平开放试点业务。
同时,在推进IPO的同时,海南银行积极参与跨境金融基础设施建设,是全国CIPS标准收发器首家间接参与银行、全国首家上线上海票交所跨境人民币贸易融资资产 *** 服务平台2.0的城商行,目前正在推动建设自贸港多功能自由贸易账户系统和跨境资管试点业务的前期准备工作,待准备充分后将向相关监管部门申请验收和报批。
不过,海南银行的IPO之路仍面临挑战,从业绩表现看,2025年三季度,该行实现营业收入16.38亿元,同比下滑18.94%;归母净利润4.12亿元,同比下滑12.6%。
5家银行仍在排队IPO,
仅1家状态为“已问询”
通过查询上交所及深交所发现,当前A股IPO排队名单仅剩五家银行。
上交所官网显示,当前,湖州银行处于“已问询”阶段,受理日期为2023年3月4日,更新日期2023年11月1日。实际上,湖州银行早在2019年便开始备战IPO,同年3月向浙江证监局递交了辅导备案公示文件。2020年初,该行首次向 *** 递交上市申请招股书,正式进行IPO排队。

来源:上交所
湖北银行、江苏昆山农商行状态为“已受理”。其中,湖北银行作为湖北省属地 *** 人银行,自2023年3月IPO申请获上交所受理以来,已在A股排队近三年。
另外,深交所官网显示,当前,东莞银行、广东南海农商行IPO审核状态均为“已受理”。

来源:深交所
值得注意的是,去年3月,东莞银行、广东南海农商行IPO申请状态曾因财务资料已过有效期而被“中止”。直至同年6月30日,两家银行因更新提交相关财务资料,使得IPO审核状态恢复为“已受理”。而在9月,两家银行再因相同问题被“中止”,当前显示的最新招股说明书等更新时间均为去年12月29日。
据了解,东莞银行2008年递交上市材料,2023年3月,随着全面注册制实施,该行IPO申请曾由核准制平移至深交所主板审核,2014年还因未完成预披露被终止审查。
广东南海农商行于2018年启动上市辅导,2019年5月,该行首次向 *** 提交IPO申请并拟在深交所中小板上市,同样地,因全面注册制改革,该行2023年3月将上市申请平移至深交所。
业绩表现方面,2025年9月末,东莞银行实现营业收入69.18亿元,同比下降超9%;归母净利润为25.46亿元,同比下降超20%。此外,广东南海农商行营业收入42.77亿元,同比下滑8.73%;归母净利润18.65亿元,同比下降17.08%。
数家银行近期披露IPO辅导进展,
汉口银行辅导超15年
自兰州银行2022年1月成功上市后,A股银行IPO已连续四年“空窗”。除了上述状态为“已受理”、“已问询”的银行,另有一支庞大的“预备役”队伍。
据不完全统计,包括汉口银行、乌鲁木齐银行、北京农商行、天津银行、温州银行、江苏如皋农商行、江苏江南农商行、甘肃银行、宁波通商银行、成都农商行、福建海峡银行、杭州联合农商行、桂林银行等在内的多家银行,均在近期密集披露了辅导进展。
其中,汉口银行自启动上市辅导,此场“持久战”已跨越15年时间。2010年12月,汉口银行与海通证券(600837)(现国泰海通证券)正式签署上市辅导协议,开启冲击A股上市的征程。
今年1月20日, *** 官网披露了汉口银行第六十四期上市辅导报告,其中提及,该行面临资本持续消耗、补充渠道相对有限的问题,辅导工作还需要进一步推进。与此同时,国泰海通证券指出,该行仍存在资本补充渠道有限等问题。
此外,国泰海通证券近期还发布了乌鲁木齐银行第三十五期上市辅导进展报告,其中提及,该行由于历史原因导致股权结构较为复杂,国泰海通证券针对该行在历史沿革、股东适格性等方面存在的问题提出相应整改建议并督促其执行。目前该行正有序推进增资扩股工作,国泰海通将继续配合其积极推动增资扩股的监管审批进展,并督促、协助持续开展股东确权、股权结构梳理及国有股权管理等工作。
事实上,西北地区的新竞争格局正在形成,去年5月,新疆银行发布上市财务顾问服务项目招标文件,开启上市辅导的准备工作,最终两大机构谁能拥有“新疆首家上市银行”的头衔,结局仍充满悬念。
相比而言,港股市场在去年1月迎来宜宾银行挂牌,但距离前次东莞农商银行成功上市,仍时隔三年多时间。
除了正在历经上市辅导期的银行,亦有多家银行在此期间撤回了发行上市申请,其中,亳州药都农商行于2024年1月10日撤回发行上市申请;江苏海安农商行于2024年6月26日撤回申请;安徽马鞍山农商行于2024年7月2日撤回申请;广州银行于2025年1月17日撤回申请;广东顺德农商银行于2025年7月4日撤回申请。