出品:新浪财经上市公司研究院
作者:君
2026年1月30日,上海鑫谊麟禾科技股份有限公司(简称“鑫谊麟禾”或“公司”)向联交所主板提交上市申请,华泰国际担任独家保荐人。
2023年及2024年,鑫谊麟禾接连收购上海和宗、浙江明磊,切入制造业务,对价合计近4亿元。虽然制造业务助推公司的收入规模快速扩张,但该业务毛利率较低且持续下滑,大幅拉低了公司整体毛利率,2025年前三季度降至19.5%。同时,公司期间费用率居高不下,进一步蚕食利润,报告期内深陷持续亏损泥潭。
财务状况方面,截至2025年9月底,鑫谊麟禾的赎回负债为44.45亿元,较总资产高出约13.81亿元。受此影响,公司已“技术性资不抵债”,资产负债率达185.85%,营运资金为-34.65亿元。
此外,2025年鑫谊麟禾多次因劳动争议或劳动合同纠纷被员工告上法庭,还存在欠缴员工社会保险及住房公积金供款的情形,2024年及2025年前三季度分别计提拨备330万元及260万元。
赎回负债近45亿 已“技术性资不抵债”
鑫谊麟禾成立于2013年,是中国一家结合数字交易平台与MRO产品自主制造能力的综合工业集团。根据灼识咨询,按商品交易总额计,公司是中国前五大在线MRO采购服务提供商及第二大在线次终端MRO采购服务提供商。
公开资料显示,MRO是维护(Maintenance)、维修(Repair)和运营(Operations)的缩写,指制造商品所需的工具、用品、生产设备和设施的日常和长期维护,也称为维护、维修和大修。MRO 通常可分为四种类型,工具和消耗品、基础架构修复和维护、材料处理设备维护、生产设备维修和维护。
据统计,2016年3月至2022年5月,鑫谊麟禾完成9轮融资,共募集资金29.66亿元,投资方包括春华资本、泰康人寿、普洛斯GLP、建发新兴投资、源码资本、钟鼎资本、鼎晖资本、成为资本等知名产业资本(统称“公开发售前投资者”)。
IPO前,高瑒有权行使鑫谊麟禾约30.00%已发行股本总额所附的投票权,连同上海仟晔、上海贝镕、上海明冬、上海川锐、上海千铎、上海圣永及上海锢锐构成公司的单一更大股东集团。此外,安大略教师退休金计划旗下的科创投资平台RG SPV Limited持有公司18.74%股份,为第二大股东及更大外部投资者。
根据联交所《上市规则》,控股股东指任何有权在发行人的股东大会上行使或控制行使30%或30%以上投票权的人士或一组人士,或有能力控制组成发行人董事会的大部分成员的任何一名或一组人士。高瑒有权在鑫谊麟禾的股东大会上行使30%投票权,为何未被认定为控股股东?
值得一提的是,鑫谊麟禾向公开发售前投资者授出若干特殊权利,包括但不限于赎回权及撤资权、反摊薄权、优先购买权及随售权、共同出售权、信息及检查权以及清算优先权。其中,赎回权虽然于公司首次向联交所提交上市申请前已暂停,但倘若发生以下事件,赎回权将自动恢复:上市申请被拒绝、公司撤回上市申请,或公司未能于2028年1月1日或之前完成公开发售。
截至2025年9月底,鑫谊麟禾的赎回负债为44.45亿元,较总资产高出约13.81亿元。受此影响,公司已“技术性资不抵债”,资产负债率达185.85%,营运资金(流动资产-流动负债)为-34.65亿元。
同时,赎回负债还对鑫谊麟禾的经营业绩产生不利影响。2023年、2024年及2025年前三季度(简称“报告期”),公司的财务成本分别为3.37亿元、4.04亿元、2.80亿元,其中赎回负债的账面值变动3.33亿元、3.96亿元、2.69亿元,持续增长,分别占收入的66.00%、45.13%、23.93%。
对鑫谊麟禾而言,上市不仅是发展目标,更是避免赎回触发的生存前提。若市场环境恶化或公司不符合上市标准,将直接引发流动性危机。由于赎回负债远超总资产,一旦触发赎回,公司几乎不可能依靠自身现金流偿付,可能导致债务违约、资产被清算甚至破产。
收入激增 但毛利率持续下滑
财务数据显示,报告期内,鑫谊麟禾的收入高速增长,分别为5.05亿元、8.77亿元、11.24亿元,最近一期同比大幅增长166.61%。但公司尚未实现盈利,且主营业务不具备“造血”能力,各期分别录得净亏损6.53亿元、7.74亿元、4.89亿元,经营活动产生的现金流量净额-2.47亿元、-0.90亿元、-2.07亿元。截至2025年9月底,公司录得未弥补亏损36.44亿元。
即便加回赎回负债的账面值变动等,鑫谊麟禾仍然处于亏损状态,报告期内,经调整净亏损分别为2.79亿元、3.26亿元、1.68亿元。2025年前三季度,虽然公司的经调整净亏损同比收窄16.05%,但经营性现金流的净流出额同比扩大37.76%,现金流状况大幅恶化。
按业务分部来看,2023年及以前年度,鑫谊麟禾的全部收入来自数字平台业务,主要包括产品销售及佣金。2023年12月,公司以9000万元价格收购上海和宗焊接设备制造有限公司(简称“上海和宗”)80%股权,切入制造业务。2024年11月,公司以3亿元价格收购浙江明磊锂能源科技股份有限公司(简称“浙江明磊”)40%股权,并通过“同股不同权”设计控制其60%表决权,将浙江明磊纳入合并报表范围,进一步加码制造业务。
2024年,鑫谊麟禾制造业务实现收入4.63亿元,占总收入的52.7%,迅速成为新的增长曲线。2025年前三季度,制造业务的收入大幅增长493.63%,收入占比提升至75.6%。

虽然制造业务助推鑫谊麟禾的收入规模快速扩张,但大幅拉低了公司整体毛利率。2024年,制造业务的毛利率为20.1%,较数字平台业务的毛利率低7.5pct。2025年前三季度,制造业务的毛利率降至14.8%,而数字平台业务的毛利率提升至33.9%,差距扩大至19.1pct,导致公司整体毛利率从23.3%降至19.5%,比2023年的毛利率还低。
与制造业务的快速发展截然相反,鑫谊麟禾的数字平台业务经历十余年发展,已陷入增长瓶颈。2024年,公司数字平台业务实现收入4.15亿元,同比大幅下降17.81%,其中产品销售收入同比下降34.75%。2025年前三季度,数字平台业务的收入为2.74亿元,同比下降1.55%,收入占比大幅下滑至24.4%。

同时,为维持市场份额、提升产品竞争力,鑫谊麟禾的期间费用居高不下,持续蚕食利润。报告期内,公司的销售费用分别为2.99亿元、2.51亿元、1.89亿元,管理费用分别为1.22亿元、1.86亿元、1.54亿元,研发费用分别为0.52亿元、0.74亿元、0.79亿元,合计占总收入的93.81%、58.24%、37.52%,2023年一度接近100%。
尽管鑫谊麟禾的研发费用快速增长,但含“科”量存疑。报告期内,公司累计投入研发费用2.05亿元,仅占总收入的8.17%。据招股书披露,对公司业务可能重大的发明专利共38项,其中37项发明专利的持有人为上海和宗、浙江明磊及其子公司。
国家知识产权局专利检索及分析系统显示,该37项发明专利中,有31项于2022年以前(含2022年)申请,剩余的6项发明专利于2023年3月至2024年2月申请,专利持有人均为浙江明磊及其控制的企业,彼时浙江明磊尚未被公司收购。也就是说,这37项发明专利早在公司收购前就已申请,实际上与公司的研发活动无关。
2013年成立至今,申请人为鑫谊麟禾的发明专利只有3项,其中获授权的只有1项(2024年3月申请,11月授权)。从这个角度出发,鑫谊麟禾的数字平台很难说有多少技术创新。创始人高瑒在接受采访时曾坦言,“目前锐锢的商业模型并非创新,因为无论你怎么说怎么润色目前的事业,从本质上来看你还是承担了原有的产业职能。”
频陷劳动争议纠纷 副总薪酬达千万
值得注意的是,鑫谊麟禾未为员工足额缴纳社会保险及住房公积金供款,各期分别计提拨备约60万元、330万元及260万元。

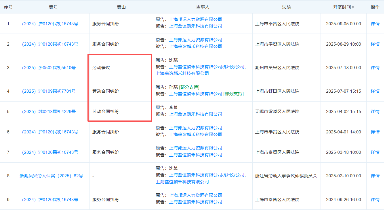
天眼查显示,2025年多名员工因劳动争议或劳动合同纠纷起诉鑫谊麟禾,或申请劳动仲裁。此外,2024年9月至2025年9月,上海邦运人力资源有限公司因服务合同纠纷五次起诉鑫谊麟禾。

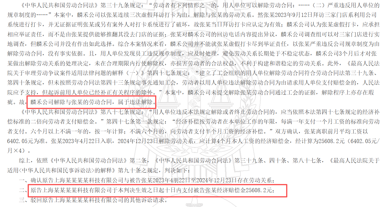
2025年7月,公司因不服仲裁裁决,主动向长沙市望城区人民法院提起诉讼,但法院经审理后认定公司系违法解除劳动合同,判决公司支付被告张某经济赔偿金25608.2元,并驳回公司其他诉讼请求。
一面是频陷劳动争议纠纷,另一面是高管薪酬连年大涨。
报告期内,鑫谊麟禾执行董事兼副总经理林榕桢的薪酬总额分别为927.3万元、1002万元、666.6万元,其中股份支付698.3万元、772.8万元、549.4万元。高瑒虽未获得股份支付,但2023年及2024年的年薪均超过200万元。此外,执行董事董冰、王丽赟每期的薪酬总额也均在数百万元。
此外,自2022年5月完成的E轮融资至今,鑫谊麟禾再未获得新的外部融资机会,叠加经营性现金流持续为负,营运资金对银行贷款的依赖持续加深。截至2025年9月底,公司银行定期存款、受限制现金、现金及现金等价物合计9.03亿元,较年初减少37.72%,短期借款及长期借款合计4.62亿元,较年初增长30.89%。